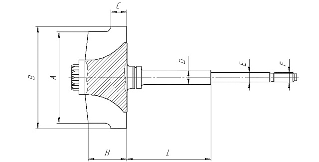
Ротором турбины называют ее вращающуюся часть: вал, диски, рабочие лопатки и вспомогательные детали, обеспечивающие его сборку и работу. Он является самым нагруженным ее узлом.

| № п/п | Наименование | A, мм | B, мм | C, мм | D, мм | E, мм | F, мм | H, мм | Количество лопаток | L, мм | Примечания |
|---|---|---|---|---|---|---|---|---|---|---|---|
| 1 | К03 | 40.4 | 45.2 | 7.7 | 7.0 | 4.61 | М4.5Х0.5-LH | 18.5 | 11 | 51.0 | - |
| 2 | K04 | 42.0 | 50.0 | 7.6 | 7.0 | 4.61 | М4.5Х0.5-LH | 17.8 | 12 | 51.0 | - |
| 3 | K14 | 42.0 | 50.0 | 6.4 | 8.47 | 5.4 | M5X0.8-LH | 17.8 | 12 | 57.0 | - |
| 4 | K16 | 49.0 | 55.0 | 6.44 | 8.47 | 5.4 | M5X0.8-LH | 19.6 | 12 | 57.0 | - |
| 5 | KP35 | 29.2 | 34.7 | 5.3 | 6.0 | 4.1 | M4X0.5-LH | 14.6 | 9 | 41.0 | - |
| 6 | KP39 | 37.5 | 38.5 | 7.0 | 6.0 | 4.1 | M4X0.5-LH | 15.6 | 9 | 41.0 | - |
| 7 | GT15 | 35.0 | 41.4 | 7.3 | 7.88 | 5.09 | M5X0.8-LH | 21.0 | 9 | 42.5 | - |
| 8 | GT18 | 40.0 | 44.0 | 8.3 | 7.88 | 5.09 | M5X0.8-LH | 23.0 | 9 | 42.5 | - |
| 9 | GT22 | 42.4 | 50.3 | 8.83 | 7.88 | 5.09 | M5X0.8-LH | 24.0 | 9 | 42.5 | - |
| 10 | T22 | 42.4 | 50.3 | 8.7 | 9.2 | 6.0 | M6X1.0-LH | 24.0 | 9 | 52.5 | - |
| 11 | T2 | 46.96 | 53.8 | 9.27 | 9.2 | 6.0 | M6X1.0-LH | 25.5 | 9 | 52.5 | - |
| 12 | TD04 | 41.2 | 47.0 | 7.7 | 7.5 | 5.0 | M5X0.8-LH | 17.0 | 12 | 44.0 | - |
| 13 | TD041 | 45.6 | 52.0 | 8.6 | 7.5 | 5.0 | M5X0.8-LH | 19.6 | 12 | 44.0 | - |
| 14 | GT20 | 38.0 | 53.0 | 7.6 | 9.2 | 6.0 | M6X1.0-LH | 23.5 | 9 | 52.5 | - |
| 15 | GT15(12) | 38.3 | 42.0 | 5.6 | 7.88 | 5.09 | M5X0.8-LH | 19.3 | 12 | 42.5 | - |
| 16 | GT17(12) | 40.0 | 47.0 | 6.1 | 7.88 | 5.09 | M5X0.8-LH | 20.0 | 12 | 42.5 | - |
| 17 | GT25 | 46.96 | 53.8 | 9.27 | 7.88 | 5.09 | M5X0.8-LH | 25.5 | 9 | 42.5 | - |
| 18 | GT25(12) | 45.9 | 54.0 | 7.8 | 7.88 | 5.09 | M5X0.8-LH | 20.5 | 12 | 42.5 | - |
| 19 | K03C | 37.8 | 45.0 | 7.7 | 7.0 | 4.61 | M4.5X0.5-LH | 18.7 | 11 | 51.0 | Закрытый диск колеса турбины |
| 20 | K04C | 44.5 | 50.0 | 7.6 | 7.0 | 4.61 | M4.5X0.5-LH | 17.8 | 12 | 51.0 | Закрытый диск колеса турбины |
| 21 | K04C(9) | 40.0 | 42.8 | 7.1 | 7.0 | 4.61 | M4.5X0.5-LH | 23.5 | 9 | 50.0 | Закрытый диск турбины |
| 22 | TF035 | 36.23 | 43.1 | 6.5 | 7.0 | 5.0 | M5X0.8-LH | 14.9 | 11 | 44.0 | - |
| 23 | S300 | 70.84 | 79.8 | 13.53 | 11.57 | 8.0 | M8X1.25-LH | 32.3 | 10 | 70.0 | - |
| 24 | S400 | 81.2 | 87.4 | 18.0 | 14.46 | 10.0 | M10X1.5-LH | 35.0 | 10 | 80.0 | - |
| 25 | H1E/HX40 | 68.0 | 76.0 | 12.3 | 11.0 | 7.0 | M7.0X1.0-LH | 26.7 | 12 | 72.0 | - |
| 26 | H2B/C/D/E | 77.0 | 86.0 | 15.0 | 12.2 | 8.0 | M8X1.25-LH | 35.4 | 11 | 70.0 | - |
| 27 | K27 | 68.6 | 76.0 | 11.5 | 10.0 | 7.0 | M7.0X1.0-LH | 27.6 | 12 | 75.0 | - |
| 28 | HE/НY55 | 83.4 | 86.1 | 17.2 | 12.2(L-88) | 8.0 | M8X1.25-LH | 34.0 | 12 | 101.0 | - |
| 29 | TF025 | 35.1 | 40.2 | 6.6 | 6.0 | 4.0 | M4X0.7-LH | 16.0 | 11 | 39.5 | - |
| 30 | S3A | 76.0 | 83.5 | 17.0 | 11.5 | 7.94 | M8X1.25-LH | 33.5 | 10 | 80.0 | - |
| 31 | S3B | 76.0 | 83.5 | 17.0 | 12.7 | 7.94 | M8X1.25-LH | 33.5 | 10 | 80.0 | - |
| 32 | C13 | 49.0 | 55.0 | 6.3 | 8.7 | 5.7 | M5X0.5-LH | 20.0 | 12 | 57.0 | - |
| 33 | C14 | 53.4 | 60.0 | 7.2 | 8.7 | 5.7 | M5X0.5-LH | 21.7 | 12 | 56.0 | - |
| 34 | HX55 | 83.4 | 86.0 | 17.2 | 12.2(L-68) | 8.0 | M8X1.25-LH | 34.0 | 12 | 80.0 | - |
| 35 | TBP-4 | 64.6 | 74.2 | 10.75 | 10.16 | 6.35 | 1/4-28UNF-LH | 29.7 | 11 | 67.0 | - |
| 36 | TD025 | 31.5 | 37.1 | 5.7 | 6.0 | 4.0 | M4X0.7-LH | 14.0 | 12 | 39.5 | - |
| 37 | GT42 | 77.3 | 81.7 | 17.2 | 13.0 | 8.25 | M8X1.25-LH | 41.0 | 10 | 74.0 | - |
| 38 | TA45 | 72.0 | 82.0 | 13.5 | 13.0 | 7.93 | M8X1.25-LH | 32.0 | 11 | 74.0 | - |
| 39 | TA51 | 81.0 | 89.0 | 15.0 | 13.0 | 7.93 | M8X1.25-LH | 35.0 | 11 | 74.0 | - |
| 40 | HX50 | 83.4 | 86.0 | 17.2 | 12.2 | 8.0 | M8X1.25-LH | 34.0 | 12 | 70.0 | - |
| 41 | K27M | 64.5 | 70.7 | 12.3 | 10.0 | 7.0 | M7X1.0-LH | 25.0 | 12 | 75.0 | - |
| 42 | K29 | 71.2 | 83.5 | 14.3 | 11.96 | 7.94 | M8X1.25-LH | 29.0 | 12 | 73.5 | - |
| 43 | K31 | 76.0 | 86.0 | 13.9 | 11.96 | 7.94 | M8X1.25-LH | 34.0 | 11 | 73.5 | - |
| 44 | S200 | 57.8 | 71.2 | 10.3 | 10.57 | 7.0 | M7X1.0-LH | 28.0 | 10 | 71.0 | - |
| 45 | S2B | 65.0 | 73.65 | 15.0 | 10.16 | 7.0 | M7X1.0-LH | 29.5 | 11 | 67.0 | - |
| 46 | HT3B | 86.3 | 97.0 | 17.19 | 14.26 | 11.11 | 7/16-20UNF-RH | 34.0 | 12 | 93.0 | - |
| 47 | S200CAT | 60.6 | 69.5 | 11.2 | 10.57 | 7.0 | M7X1.0-LH | 23.7 | 10 | 71.0 | - |
| 48 | HY40 | 67.0 | 76.0 | 8.2 | 11.0 | 7.0 | M7X1.0-LH | 27.0 | 12 | 93.0 | - |
| 49 | K03-1 | 37.8 | 45.0 | 7.7 | 7.0 | 4.61 | M4.5X0.5-LH | 18.5 | 11 | 51.0 | - |
| 50 | K03-2 | 33.5 | 45.0 | 7.7 | 7.0 | 4.61 | M4.5X0.5-LH | 18.5 | 11 | 51.0 | - |
| 51 | K14-1 | 37.2 | 50.0 | 5.75 | 8.47 | 5.41 | M5X0.8-LH | 17.8 | 12 | 57.0 | - |
| 52 | TB34 | 49.0 | 65.0 | 10.3 | 10.16 | 6.35 | 1/4-28UNF-LH | 27.0 | 11 | 67.0 | - |
| 53 | TA34 | 54.0 | 65.0 | 10.3 | 10.16 | 6.35 | 1/4-28UNF-LH | 25.1 | 11 | 67.0 | - |
| 54 | GT2556 | 45.9 | 50.0 | 9.25 | 7.88 | 5.09 | M5X0.8-LH | 28.0 | 9 | 42.5 | - |
| 55 | GT15(10) | 32.2 | 42.4 | 5.91 | 7.88 | 5.09 | M5X0.8-LH | 18.0 | 10 | 42.5 | - |
| 56 | TD025(11) | 27.6 | 37.0 | 4.35 | 6.0 | 4.0 | M4X0.7-LH | 14.0 | 11 | 39.5 | - |
| 57 | АM.TF035-1 | 37.7 | 43.0 | 6.9 | 7.0 | 5.0 | M5X0.8-LH | 16.0 | 11 | 44.0 | - |
| 58 | T2(11) | 41.75 | 53.0 | 6.45 | 9.2 | 6.0 | M6X1.0-LH | 21.5 | 11 | 52.5 | - |
| 59 | GT18-1 | 39.9 | 47.0 | 8.25 | 7.88 | 5.09 | M5X0.8-LH | 23.5 | 9 | 42.5 | - |
| 60 | GT22-1 | 38.7 | 47.0 | 8.0 | 7.88 | 5.09 | M5X0.8-LH | 23.5 | 9 | 42.5 | - |
| 61 | GT17-1 | 37.5 | 44.2 | 7.75 | 7.88 | 5.09 | M5X0.8-LH | 22.0 | 9 | 42.5 | - |
| 62 | GT17-2 | 39.5 | 43.0 | 8.46 | 7.88 | 5.09 | M5X0.8-LH | 24.0 | 9 | 42.5 | - |
| 63 | GT17-3 | 36.0 | 43.0 | 5.85 | 7.88 | 5.09 | M5X0.8-LH | 22.0 | 9 | 42.5 | - |
| 64 | GT17-4 | 37.5 | 43.0 | 6.25 | 7.88 | 5.09 | M5X0.8-LH | 22.0 | 9 | 42.5 | - |
| 65 | GT17-5 | 35.0 | 43.0 | 6.25 | 7.88 | 5.09 | M5X0.8-LH | 22.0 | 9 | 42.5 | - |
| 66 | S410-1 | 81.2 | 87.4 | 18.0 | 14.46 | 10.0 | M10X1.5-LH | 35.0 | 10 | 80.0 | - |
| 67 | S410-2 | 81.2 | 87.4 | 18.0 | 14.46(L-83.5 мм) | 10.0 | M10X1.5-LH | 35.0 | 10 | 101.0 | - |
| 68 | S100 | 45.0 | 53.0 | 6.86 | 8.62 | 6.0 | M6X1.0-LH | 21.5 | 9 | 56.0 | - |
| 69 | GT15(11) | 33.1 | 39.0 | 5.6 | 6.5 | 5.083 | M5X0.8-LH | 15.4 | 11 | 42.5 | - |
| 70 | HT12 | 37.2 | 44.0 | 7.12 | 7.8 | 5.0 | M5X0.8-LH | 21.6 | 9 | 50.0 | - |
| 71 | RHF4 | 40.0 | 44.3 | 8.33 | 7.4 | 5.1 | M5X0.5-LH | 18.5 | 11 | 48.0 | - |
| 72 | BV50 | 44.50 | 50.0 | 8.6 | 7.0 | 4.61 | M4.5X0.5-LH | 36.5 | 9 | 51.0 | Правое вращение. закрытый диск КТ |
| 73 | S200(11) | 65.0 | 73.65 | 10.3 | 10.57 | 7.0 | M7X1.0-LH | 29.5 | 11 | 71.0 | - |
| 74 | GT16 | 34.0 | 41.0 | 6.53 | 7.88 | 5.09 | M5X0.8-LH | 20.0 | 9 | 42.5 | - |
| 75 | GT17(12)-1 | 40.0 | 47.0 | 7.8 | 7.88 | 5.09 | M5X0.8-LH | 18.0 | 12 | 42.5 | - |
| 76 | TD05 | 49.0 | 56.0 | 9.4 | 9.0 | 6.5 | 1/4-28UNF-LH | 20.5 | 12 | 50.0 | - |
| 77 | GTA42 | 75.2 | 82.0 | 15.12 | 13.00 | 8.1 | M8X1-LH | 39.5 | 10 | 73.0 | Под колесо компрессора-гайку |
| 78 | GTA45 | 78.75 | 84.0 | 13.9 | 13.0 | 8.1 | M8X1-LH | 41.0 | 10 | 73.0 | Под колесо компрессора-гайку |
| 79 | TF035C | 37.7 | 43.2 | 7.45 | 7.00 | 5.00 | M5X0.8-LH | 17.6 | 11 | 44.0 | - |
| 80 | RHF4-1 | 40.0 | 45.2 | 5.7 | 7.4 | 5.1 | M5X0.5-LH | 19.0 | 8 | 50.0 | - |
| 81 | GTB14 | 35.8 | 39.0 | 8.04 | 6.0 | 4.08 | M4X0.5-LH | 18.0 | 9 | 38.5 | Закрытый диск колеса турбины. 2 кольца уплотнения |
| 82 | TD04VG | 41.2 | 47.15 | 7.48 | 7.5 | 5.0 | M5X0.8-LH | 19.0 | 11 | 44.5 | - |
| 83 | S100-2 | 40.0 | 47.0 | 6.11 | 8.62.5 | 6.0 | M6X1.0-LH | 17.5 | 12 | 56.0 | - |
| 84 | K24 | 49.45 | 59.0 | 9.13 | 8.48 | 5.4 | M5X0.8-LH | 21.0 | 12 | 76.0 | - |
| 85 | HX60 | 92.0 | 97.0 | 17.05 | 14.26 | 11.115 | M11X1.0-LH | 36.0 | 12 | 92.5 | - |
| 86 | K26 | 54.54 | 64.25 | 10.10 | 9.96 | 7.0 | M7X1.0-LH | 23.6 | 12 | 75.0 | - |
| 87 | C12 | 41.5 | 50.0 | 5.5 | 8.72 | 5.7 | M5X0.5-LH | 18.0 | 12 | 56.5 | Правое вращение |
| 88 | RHF4-3 | 35.55 | 44.0 | 4.98 | 7.4 | 5.1 | M5X0.5-LH | 19.5 | 8 | 49.5 | - |
| 89 | RHF5 | 37.6 | 44.4 | 5.0 | 8.0 | 5.1 | M5X0.5-LH | 19.0 | 8 | 53.0 | - |
| 90 | TD02 | 26.4 | 34.2 | 4.0 | 6.0 | 4.0 | M4X0.5-RH | 11.0 | 12 | 39.5 | Левого вращения |
| 91 | TD04VG-1 | 38.4 | 47.0 | 6.65 | 7.5 | 5.0 | M5X0.8-LH | 18.8 | 11 | 44.5 | - |
| 92 | GT15P | 40.0 | 40.0 | - | 7.88 | 5.083 | M5X0.8-LH | 25.2 | 9 | 42.5 | Правое вращение |
| 93 | GT12 | 28.4 | 35.6 | 4.0 | 6.0 | 4.08 | M4X0.7-LH | 15.5 | 12 | 37.3 | Правое вращение |
| 94 | K03C-1 | 40.3 | 45.0 | 7.7 | 7.0 | 4.63 | M4.5X0.5-LH | 18.7 | 11 | 51.0 | Закрытый диск колеса турбины |
| 95 | GTB17-2 | 39.45 | 43.0 | 9.05 | 7.88 | 5.083 | M5X0.8-LH | 24.0 | 9 | 42.5 | Закрытый диск колеса турбины. 2 кольца уплотнения |
| 96 | GTB15-1 | 34.8 | 41.0 | 8.18 | 7.88 | 5.083 | M5X0.8-LH | 21.0 | 9 | 42.5 | Закрытый диск колеса турбины. 2 кольца уплотнения |
| 97 | GTB20-1 | 42.9 | 47.0 | 9.3 | 7.88 | 5.083 | M5X0.8-LH | 21.0 | 9 | 42.5 | Закрытый диск колеса турбины. 2 кольца уплотнения |
| 98 | GTB17-1 | 37.1 | 43.0 | 8.05 | 7.88 | 5.083 | M5X0.8-LH | 22.0 | 9 | 42.5 | Закрытый диск колеса турбины |
| 99 | GTA15-1 | 37.5 | 41.0 | 9.25 | 7.88 | 5.083 | M5X0.8-LH | 22.0 | 9 | 42.5 | Закрытый диск колеса турбины |
| 100 | H1C/HX35 | 60.0 | 70.0 | 10.9 | 10.98 | 7.0 | M7X1.0-LH | 25.8 | 12 | 72.0 | - |
| 101 | H1E/HX40-1 | 67.0 | 76.0 | 12.6 | 10.98 | 7.0 | M7X1.0-LH | 26.7 | 12 | 72.0 | - |
| 102 | HX35/HX40W | 64.0 | 76.0 | 10.15 | 10.98 | 7.0 | M7X1.0-LH | 26.0 | 10 | 72.0 | - |
| 103 | H2-2 | 77.0 | 86.0 | 13.26 | 12.2 | 8.0 | M8X1.25-LH | 35.4 | 11 | 70.0 | - |
| 104 | H2-1 | 72.0 | 86.0 | 12.26 | 12.2 | 8.0 | M8X1.25-LH | 35.4 | 11 | 70.0 | - |
| 105 | K27-1 | 68.15 | 76.0 | 11.56 | 9.96 | 7.0 | M7X1.0-LH | 26 | 12 | 75.0 | - |
| 106 | HE351V | 60.0 | 70.2 | 7.51 | 10.98 | 7.0 | M7X1.0-LH | 25.0 | 12 | 72.0 | - |
| 107 | HE431V | 66.85 | 76.0 | 7.82 | 10.98 | 7.0 | M7X1.0-LH | 27.35 | 11 | 92.0 | - |
| 108 | HE551V | 75.0 | 86.0 | 10.11 | 12.2 | 8.0 | M8X1.25-LH | 34.0 | 12 | 101.0 | - |
| 109 | HY55V-1 | 77.0 | 86.0 | 10.25 | 12.2 | 8.0 | M8X1.25-LH | 34.0 | 12 | 101.0 | - |
| 110 | HY55V-2 | 80.0 | 86.0 | 10.46 | 12.2 | 8.0 | M8X1.25-LH | 34.0 | 12 | 101.1 | - |
| 111 | HX55-1 | 80.0 | 86.5 | 15.5 | 12.2 | 8.0 | M8X1.25-LH | 34.0 | 12 | 80.0 | - |
| 112 | GT42-1 | 75.2 | 82.1 | 15.7 | 13.0 | 8.25 | M8X1.25-LH | 41.0 | 10 | 74.0 | - |
| 113 | GT42-2 | 70.0 | 82.4 | 15.69 | 13.0 | 8.25 | M8X1.25-LH | 41.0 | 10 | 74.0 | - |
| 114 | TA51-1 | 77.7 | 88.9 | 12.7 | 13.0 | 7.93 | 5/16-24UNF-LH | 35.0 | 11 | 74.0 | - |
| 115 | TA45-1 | 71.45 | 82.0 | 11.9 | 13.0 | 7.93 | 5/16-24UNF-LH | 32.0 | 11 | 74.0 | - |
| 116 | HX50-2 | 77.0 | 86.0 | 13.26 | 12.2 | 8.0 | M8X1.25-LH | 34.0 | 12 | 70.0 | - |
| 117 | HX50-3 | 72.0 | 86.0 | 12.26 | 12.2 | 8.0 | M8X1.25-LH | 34.0 | 12 | 70.0 | - |
| 118 | HX50-1 | 80.0 | 86.0 | 13.01 | 12.2 | 8.0 | M8X1.25-LH | 34.0 | 12 | 70.0 | - |
| 119 | K27-2 | 62.65 | 69.97 | 10.6 | 9.96 | 7.0 | M7X1.0-LH | 23.5 | 12 | 75.0 | - |
| 120 | K27-3 | 58.83 | 70.0 | 10.23 | 9.96 | 7.0 | M7X1.0-LH | 25.5 | 12 | 75.0 | - |
| 121 | K31-1 | 74.8 | 86.0 | 12.73 | 11.96 | 7.93 | M8X1.25-LH | 34.0 | 11 | 73.5 | - |
| 122 | S200-1 | 46.24 | 57.96 | 7.91 | 10.58 | 7.0 | M7X1.0-LH | 23.0 | 10 | 71.0 | - |
| 123 | S200-2 | 55.8 | 69.66 | 9.45 | 10.58 | 7.0 | M7X1.0-LH | 28.0 | 10 | 71.0 | - |
| 124 | S2-1 | 58.42 | 73.74 | 9.38 | 10.16 | 7.0 | M7X1.0-LH | 29.5 | 11 | 67.0 | - |
| 125 | S2-2 | 66.5 | 76.25 | 11.2 | 10.16 | 7.0 | M7X1.0-LH | 30.5 | 10 | 67.0 | - |
| 126 | S2-3 | 60.46 | 69.84 | 9.24 | 10.16 | 7.0 | M7X1.0-LH | 24.0 | 10 | 67.0 | - |
| 127 | S410-4 | 78.0 | 87.35 | 11.98 | 14.48 | 10.0 | M10X1.5-LH | 35.0 | 10 | 101.0 | - |
| 128 | S410-3 | 78.0 | 87.35 | 11.98 | 14.48 | 10.0 | M10X1.5-LH | 35.0 | 10 | 80.0 | - |
| 129 | S400-1 | 74.25 | 83.65 | 13.88 | 14.48 | 10.0 | M10X1.5-LH | 33.4 | 10 | 80.0 | - |
| 130 | GTB17-3 | 39.45 | 43.0 | 9.05 | 7.88 | 5.083 | M5X0.8-LH | 24.0 | 9 | 42.5 | Закрытый диск колеса турбины |
| 131 | GTB20-2 | 41.6 | 47.0 | 9.33 | 7.88 | 5.083 | M5X0.8-LH | 25.0 | 9 | 42.5 | Закрытый диск колеса турбины |
| 132 | HC5A/HX82 | 111.6 | 129.0 | 19.0 | 15.97 | 11.11 | M11X1.0-LH | 47.0 | 11 | 95.0 | Правого вращения |
| 133 | GTB16-1 | 35.75 | 41.0 | 8.15 | 7.88 | 5.083 | M5X0.8-LH | 24.0 | 9 | 42.5 | Закрытый диск колеса турбины. 2 кольца уплотнения |
| 134 | GTB15-2 | 37.6 | 41.0 | 9.29 | 7.88 | 5.083 | M5X0.8-LH | 24.0 | 9 | 42.5 | Закрытый диск колеса турбины. 2 кольца уплотнения |
| 135 | GTB17-4 | 38.0 | 43.0 | 9.05 | 7.88 | 5.083 | M5X0.8-LH | 22.0 | 9 | 42.5 | Закрытый диск колеса турбины. 2 кольца уплотнения |
| 136 | GTB22 | 45.8 | 50.0 | 9.94 | 7.88 | 5.083 | M5X0.8-LH | 26.0 | 9 | 42.5 | Закрытый диск колеса турбины. 2 кольца уплотнения |
| 137 | K31/B3 | 78.1 | 87.4 | 12.33 | 11.96 | 7.938 | M8X1.0-LH | 35 | 10 | 86.0 | - |
| 138 | C15 | 51.3 | 67.0 | 8.19 | 8.72 | 5.7 | M5X0.5-LH | 26 | 12 | 57.5 | - |
| 139 | K28 | 68.8 | 81.9 | 12.51 | 9.96 | 7.0 | M7X1.0-LH | 28.4 | 12 | 75.5 | - |
| 140 | S200-3 | 56.38 | 63.0 | 8.4 | 10.58 | 7.0 | M7X1.0-LH | 26 | 11 | 70.5 | - |
| 141 | S300-2 | 62.7 | 70.0 | 9.55 | 11.58 | 8.0 | M8X1.25-LH | 29.5 | 11 | 69 | - |
| 142 | GTA55 | 102.1 | 112.0 | 21.51 | 15.885 | 10.31 | 3/8-16UNF-LH | 50.0 | 10 | 90.5 | - |
| 143 | K29-1 | 71.0 | 82.0 | 12.5 | 11.96 | 7.9 | M8.0X1.0-LH | 29.5 | 12 | 73.5 | - |
| 144 | GTA40 | 64.0 | 72.7 | 12.0 | 11.51 | 8.26 | M8.0X1.0-LH | 30.0 | 10 | 65.0 | - |
| 145 | CT26 | 52.0 | 68.0 | 11.6 | 10.0 | 6.5 | M6X1.0-LH | 26.0 | 10 | 62.4 | - |
| 146 | AM.CT20 | 44.0 | 59.7 | 9.95 | 10.0 | 6.5 | M6X1.0-LH | 28.0 | 10 | - | - |
| 147 | CT20-1 | 48.0 | 59.7 | 9.95 | 10.0 | 6.5 | M6X1.0-LH | 28.0 | 10 | 57.0 | - |
| 148 | RHB52 | 40.0 | 52.5 | 5.8 | 8.0 | 5.1 | M5X0.5-LH | 19.6 | 12 | 47.5 | - |
| 149 | RHF5-1 | 44.0 | 53.2 | 7.04 | 8.0 | 5.1 | M5X0.5-LH | 21.0 | 12 | 51 | - |
| 150 | RHF3 | 29.0 | 37.3 | 4.35 | 6.26 | 4.4 | M4X0.5-LH | 15.0 | 12 | 42.6 | - |
| 151 | CT-VNT | 48.0 | 51.8 | 9.6 | 8.51 | 5.1 | M5X0.5-LH | 22.0 | 11 | 51.5 | - |
| 152 | CT9 | 36.0 | 46.1 | 7.92 | 7.5 | 5.1 | M5X0.5-LH | 19.5 | 8 | 58 | - |
| 153 | RHF55 | 48.0 | 53.2 | 9.46 | 9.0 | 6.1 | M6X0.75-LH | 24.0 | 11 | 56 | - |
| 154 | CT12 | 38.2 | 51.9 | 9.15 | 8.5 | 5.7 | M5.5X0.5-LH | 26.5 | 8 | 58 | - |
| 155 | CT20-2 | 48.0 | 59.7 | 10.62 | 10 | 6.5 | M6X1.0-LH | 24.0 | 10 | 58.2 | - |
| 156 | BV43 | 38.2 | 43.0 | 6.97 | 7.0 | 4.61 | M4.5X0.5-LH | 23.5 | 9 | 49.5 | Закрытый диск колеса турбины |
| 157 | RHF3-1 | 29.5 | 32.8 | 4.86 | 6.26 | 4.4 | M4X1.0-LH | 15.0 | 11 | 45 | - |
| 158 | RHF5-2 | 40.1 | 53.2 | 6.39 | 8.0 | 5.1 | M5X0.5-LH | 20.0 | 9 | 51.4 | - |
| 159 | RHF55-1 | 50.9 | 56.0 | 11.9 | 9.0 | 6.1 | M6X0.75-LH | 27.4 | 11 | 56 | - |
| 160 | RHF4-2 | 36.15 | 45.0 | 7.51 | 7.4 | 5.1 | M5X0.5-LH | 19.0 | 9 | 45.35 | - |
| 161 | RHF3-2 | 29.5 | 35.5 | 5.64 | 6.26 | 4.4 | M4X0.5-LH | 15.0 | 11 | 42.65 | - |
| 162 | RHF5-3 | 40.3 | 45.0 | 5.74 | 8.0 | 5.1 | M5X0.5-LH | 19.0 | 8 | 54 | - |
| 163 | RHF55-2 | 48.7 | 56 | 9.04 | 9.0 | 6.1 | M6X0.75-LH | 22.0 | 11 | 56 | - |
| 164 | RHF5-4 | 42.5 | 52.5 | 9.43 | 8.0 | 5.1 | M5X0.5-LH | 21.5 | 9 | 48 | - |
| 165 | RHF4-4 | 36.15 | 45.6 | 7.2 | 7.4 | 5.1 | M5X0.5-LH | 19.0 | 9 | 45 | - |
| 166 | RHB52-1 | 44.0 | 52.5 | 7.16 | 8.0 | 5.1 | M5X0.5-LH | 22.3 | 12 | 47.5 | - |
| 167 | CT12-1 | 38.0 | 46.0 | 6.24 | 7.5 | 5.1 | M5X0.5-LH | 16.2 | 9 | 58 | - |
| 168 | CT26-1 | 48.0 | 60.0 | 8.36 | 8.5 | 5.7 | M5X0.5-LH | 22.2 | 10 | 60.56 | - |
| 169 | CT12-2 | 44.0 | 52.1 | 7.45 | 7.5 | 5.1 | M5X0.5-LH | 19.5 | 9 | 58.1 | - |
| 170 | RHF4-5 | 38.5 | 46.0 | 7.0 | 7.4 | 5.1 | M5X0.5-LH | 18.5 | 11 | 48.35 | - |
| 171 | RHF5-5 | 44.0 | 53.2 | 7.04 | 8.0 | 5.1 | M5X0.5-LH | 20.0 | 9 | 51.2 | - |
| 172 | RHF4-6 | 38.5 | 46.0 | 6.73 | 7.4 | 5.1 | M5X0.5-LH | 18.5 | 11 | 46.0 | - |
| 173 | K04-1 | 42.0 | 50.0 | 6.4 | 7.0 | 4.61 | M4.5X0.5-LH | 17.8 | 12 | 50.1 | - |
| 174 | АМ.S300-1 | 70.8 | 79.8 | 13.5 | 11.58 | 8.0 | M8X1.25-LH | 32.6 | 10 | 70.0 | - |